手机版
二维码
购物车
选择频道搜索
商城
资讯
供应
求购
公司
行情
展会
招商
品牌
招聘
知道
专题
图库
视频
下载
商圈
动态
煤矿
安全
事故
煤矿安全
安全生产
矿井
矿山
矿山安全
超低排放
首页
商城
资讯
供应
求购
公司
行情
展会
招商
品牌
招聘
知道
专题
图库
视频
下载
商圈
动态
发帖
回复
首页
>
商圈
>
站务
>
超低排放圈
煤资小二
圈主
楼主
点击
9
回复
0
管理
原帖
03-10 15:10
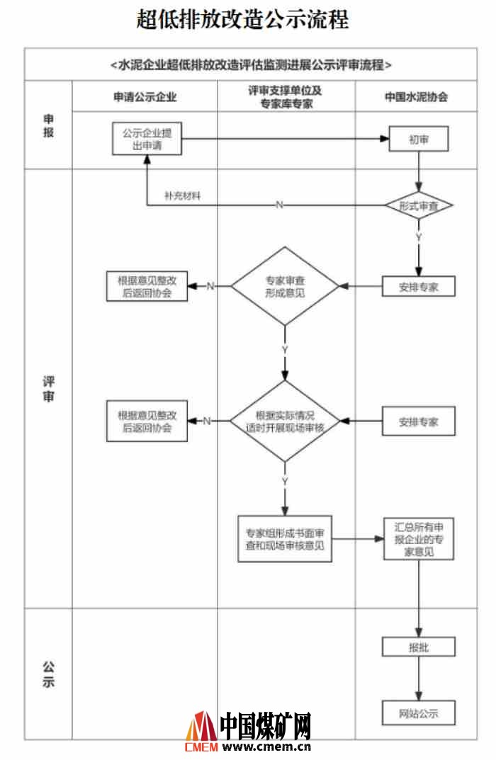
水泥企业超低排放改造评估监测进展公示评审流程
水泥企业超低排放改造评估监测进展公示评审流程
点赞
0
举报
收藏
0
打赏
0
分享
5
回复:水泥企业超低排放改造评估监测进展公示评审流程
网站首页
|
关于我们
|
联系方式
|
用户协议
|
隐私政策
|
版权声明
|
排名推广
|
广告服务
|
积分换礼
|
网站留言
|
帮助中心
|
网站地图
|
违规举报
陕ICP备2024049236号
(c)2022-2025 煤矿设备物资采购供应平台 B2B2C CMEM.CN All Rights Reserved
关键字:煤矿设备物资,煤装网,智慧矿山,采煤机,液压支架,防爆车辆,矿用本安设备,刮板机,皮带机
合作交流:
投稿:1641640909@qq.com
重要提示:煤矿网信息来源为用户发布,请甄别真假信息,核对准确,提倡合法交易,防止上当。